Cub Cadet Lt1042 Deck Parts List

Cub Cadet Lt 1042 13ax11cg709 Cub Cadet 42 Lawn Tractor 2007 Before Mower Deck 42 Inch 618 0659 Spindle Parts Lookup With Diagrams Partstree

Cub Cadet Lt 1042 13ax11cg709 Cub Cadet 42 Lawn Tractor 2007 Before Mower Deck 42 Inch 618 0659 Spindle Parts Lookup With Diagrams Partstree

Cub Cadet Lt1042 Lt1045 Lt1046 Lt1050 Lawn Tractor Mower Parts Manual Ebay

Cub Cadet Lt1042 Lt1045 Lt1046 Lt1050 Lawn Tractor Mower Parts Manual Ebay

Cub Cadet Lt1042 Lt1046 Lt1042 Lt1045 Lt1050 Section 14 Replacement Parts

Cub Cadet Lt1042 Lt1046 Lt1042 Lt1045 Lt1050 Section 14 Replacement Parts

Cub Cadet Lt 1042 13ax11cg710 Cub Cadet 42 Lawn Tractor 2007 Before Power Take Off System Parts Lookup With Diagrams Partstree

Cub Cadet Lt 1042 13ax11cg710 Cub Cadet 42 Lawn Tractor 2007 Before Power Take Off System Parts Lookup With Diagrams Partstree

Cub Cadet Lt1042 Oil Change Deck Work Explains Everything Youtube

Cub Cadet Lt1042 Oil Change Deck Work Explains Everything Youtube

Cub Cadet Lt1042 Illustrated Parts Manual Pdf Download Manualslib

Cub Cadet Lt1042 Illustrated Parts Manual Pdf Download Manualslib

Cub Cadet Lt1042 Illustrated Parts Manual Pdf Download Manualslib

View and download cub cadet lt1042 parts manual online.

Cub cadet lt1042 deck parts list.

Pedal assembly 1i146h after. Lt1042 lawn mower pdf manual download. Power take off system. Cub cadet lt1042 13bx11cg710 13bx11cg709 13bx11cg712 13ax11 2007 before tractor parts.

Cub cadet repair parts and parts diagrams for cub cadet lt 1042 13bx11cg712 cub cadet 42 lawn tractor 2007 before. Huge in stock inventory of oem cub cadet parts. Epr 2pk spindle assembly for mtd cub cadet 42 deck lt1042 mowers replaces 618 04124a 918 04124a. Genuine cub cadet lawn tractor parts can help you maintain your outdoor power equipment long term.

Cub cadet genuine parts gives you a genuine advantage. Join our commercial discount program. Mower deck 46 inch 618 0660 spindle sn 1a267h after. Get it as soon as fri oct 9.

Huge in stock inventory of oem cub cadet parts. Pedal assembly 1i136h before. They allow you to haul equipment soil tools and more around your yard. Mower deck 42 inch 618 0659 spindle.

Hydrostatic lawn tractor 1000 series. View and download cub cadet lt1042 illustrated parts manual online. Only 14 left in stock order soon. Cub cadet model series 1000 hydrostatic lawn tractor.

1 16 of 636 results for cub cadet lt1042 parts. 833 190 833 100 cub cadet 46 snow blade att lt 1042 13ax11cg010 cub cadet 42 lawn tractor 2008 after parts diagrams 34 hide quick reference lt1042. Lt1042 lawn mower pdf manual download. Buy genuine oem cub cadet parts for your cub cadet lt1046 tractor 2007 before 13ap11ch709 13ap11ch710 and ship today.

Lawn maintenance is easier with cub cadet lawn tractors. The confidence of using parts specifically designed for a exact fit optimal performance and maximum safety. Mower deck 46 inch 618 0660 spindle sn 1a257h before. Buy genuine oem cub cadet parts for your cub cadet lt1042 tractor 2007 before 13ax11cg709 lt1042 13ax11cg710 lt1042 13ax11cg756 13bx11cg709 13bx11cg710 13bx11cg712 and ship today.

These are the only parts with the in depth engineering and rigid testing that assures long lasting quality. Explore service parts.

Cub Cadet Lt1045 Belt Diagram Diagram Base Website Belt Diagram Venndiagramarchitecure Salvaascoli It

Cub Cadet Lt1045 Belt Diagram Diagram Base Website Belt Diagram Venndiagramarchitecure Salvaascoli It

Cub Cadet Lt1042 Mower Deck 42 Kohler Sv590 Lawn Mower Parts Accessories Lawn Mowers Zeppy Io

Cub Cadet Lt1042 Mower Deck 42 Kohler Sv590 Lawn Mower Parts Accessories Lawn Mowers Zeppy Io

Cars And Technology Cub Cadet Ltx 1045 Parts

Cars And Technology Cub Cadet Ltx 1045 Parts

Cub Cadet Lt1042 Manuals Manualslib

Cub Cadet Lt1042 Manuals Manualslib

Jdsfhgbjl34 Cub Cadet Ltx 1045 Parts

Jdsfhgbjl34 Cub Cadet Ltx 1045 Parts

2007 Cub Cadet Lt1050 Wiring Diagram Diagram Base Website Wiring Diagram Heartlabeleddiagram Anticotevere It

2007 Cub Cadet Lt1050 Wiring Diagram Diagram Base Website Wiring Diagram Heartlabeleddiagram Anticotevere It

Cub Cadet Ltx1042 Parts

Cub Cadet Ltx1042 Parts

49e5 Cub Cadet Lt1042 Wiring Diagram Wiring Resources

49e5 Cub Cadet Lt1042 Wiring Diagram Wiring Resources

Cars And Technology Cub Cadet Ltx 1045 Parts

Cars And Technology Cub Cadet Ltx 1045 Parts

Tractordata Com Cub Cadet Lt1042 Tractor Information

Tractordata Com Cub Cadet Lt1042 Tractor Information

Amazon Com Cub Cadet Lt1042 Parts

Amazon Com Cub Cadet Lt1042 Parts

Cub Cadet Lt1042 Deck Parts Cub Cadet Lt1042 Parts Diagram Automotive Parts Diagram Cub Cadet Lt1042 Drive Belt Diagram 954 04164 Genuine Cub Cadet 50 Deck Belt For Lt1050 The Best Inspiration

Cub Cadet Lt1042 Deck Parts Cub Cadet Lt1042 Parts Diagram Automotive Parts Diagram Cub Cadet Lt1042 Drive Belt Diagram 954 04164 Genuine Cub Cadet 50 Deck Belt For Lt1050 The Best Inspiration

Cub Cadet Lt1042 Lt1045 Lt1046 Lt1050 Service Oper Parts Manual Set For Sale Online Ebay

Cub Cadet Lt1042 Lt1045 Lt1046 Lt1050 Service Oper Parts Manual Set For Sale Online Ebay

Diagram Cub Cadet Ltx1042 Wiring Diagram Full Version Hd Quality Wiring Diagram Facediagram Belleilmersion Fr

Diagram Cub Cadet Ltx1042 Wiring Diagram Full Version Hd Quality Wiring Diagram Facediagram Belleilmersion Fr

Diagram Cub Full Version Hd Quality Cub Diagram Grafikstudio Chefscuisiniersain Fr

Diagram Cub Full Version Hd Quality Cub Diagram Grafikstudio Chefscuisiniersain Fr

Cub Cadet Lt1042 Operators Manual Manualslib Makes It Easy To Find Manuals Online

Cub Cadet Lt1042 Operators Manual Manualslib Makes It Easy To Find Manuals Online

Replaces Cub Cadet Lt1042 Riding Mower Carburetor Mower Parts Land

Replaces Cub Cadet Lt1042 Riding Mower Carburetor Mower Parts Land

Cub Cadet Lt1042 For Sale 4 Listings Tractorhouse Com Page 1 Of 1

Cub Cadet Lt1042 For Sale 4 Listings Tractorhouse Com Page 1 Of 1

Https Encrypted Tbn0 Gstatic Com Images Q Tbn 3aand9gcr4dfnna Qyfggwlpysv8tkttlomonawu7mub6pcciaugqt4kzq Usqp Cau

Https Encrypted Tbn0 Gstatic Com Images Q Tbn 3aand9gcr4dfnna Qyfggwlpysv8tkttlomonawu7mub6pcciaugqt4kzq Usqp Cau

Diagram Cub Cadet Schematic Diagram Full Version Hd Quality Schematic Diagram Freebeate K Danse Fr

Diagram Cub Cadet Schematic Diagram Full Version Hd Quality Schematic Diagram Freebeate K Danse Fr

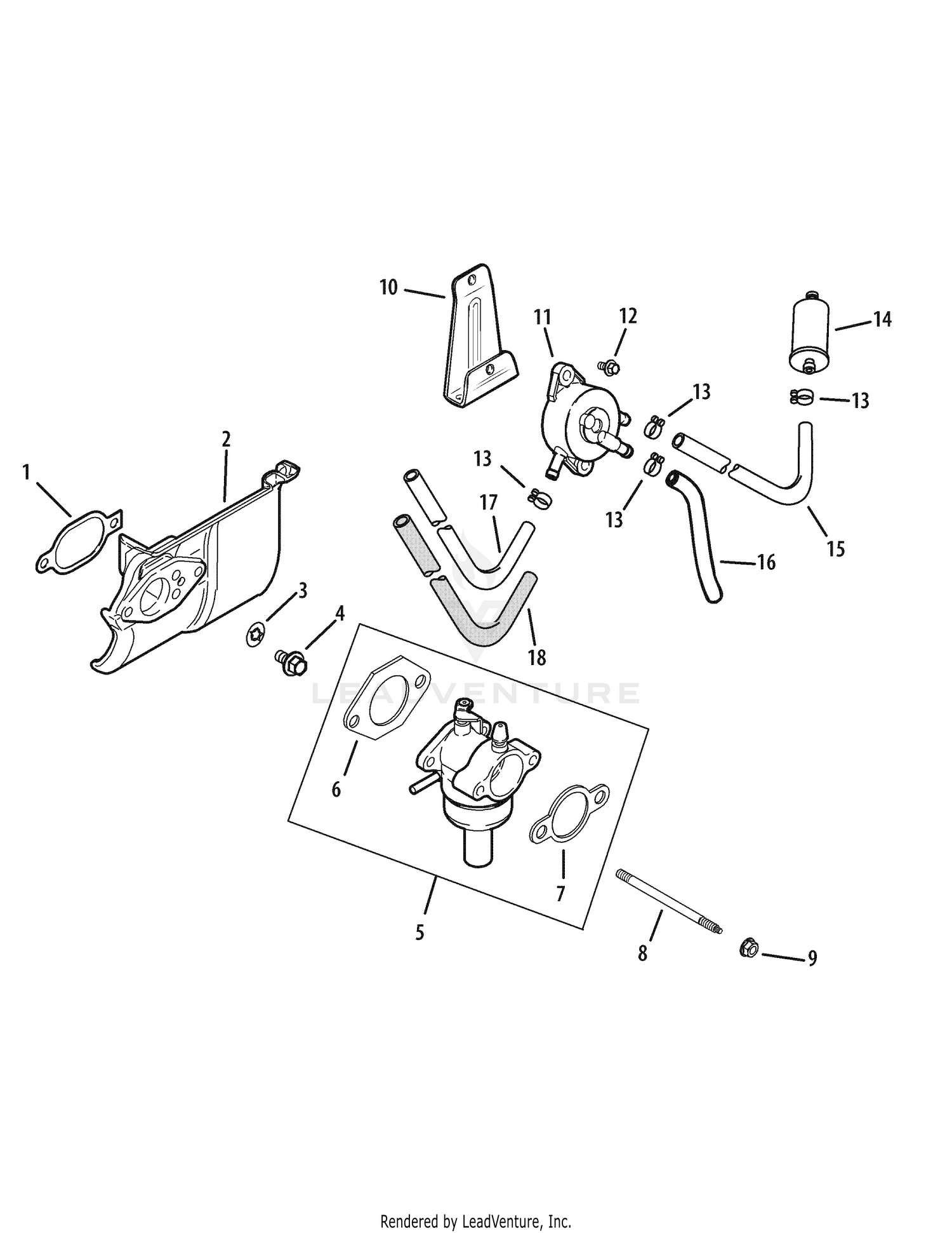
Cub Cadet Lt1042 Tractor 2008 After 13ax11cg010 Kohler Sv590 0003 Sv600 0009 Fuel System

Cub Cadet Lt1042 Tractor 2008 After 13ax11cg010 Kohler Sv590 0003 Sv600 0009 Fuel System

Cub Cadet Lt1042 Lt1046 Lt1042 Lt1045 Lt1050 Section 6 Making Adjustments

Cub Cadet Lt1042 Lt1046 Lt1042 Lt1045 Lt1050 Section 6 Making Adjustments

Cub Cadet Lt1042 Lt1046 Lt1042 Lt1045 Lt1050 Changing The Engine Oil

Cub Cadet Lt1042 Lt1046 Lt1042 Lt1045 Lt1050 Changing The Engine Oil

Diagram Wiring Diagram For Cub Cadet Full Version Hd Quality Cub Cadet Ma6116aschematic9610 Concessionariabelogisenigallia It

Diagram Wiring Diagram For Cub Cadet Full Version Hd Quality Cub Cadet Ma6116aschematic9610 Concessionariabelogisenigallia It

Source : pinterest.com